Sistema y metodología para la transmisión de imágenes mediante mazos de fibra incoherentes
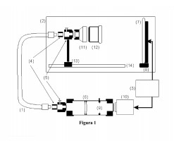
Se presenta un sistema opto-electrónico que permite, tanto la calibración de mazos de fibras incoherentes (IOFB) para poder transmitir imagen con ellos, como la propia transmisión de imágenes. El sistema está compuesto por un banco de medida óptico, una lente de entrada, un IOFB, un sistema acoplador entre el mazo y un sensor de alta resolución, una pantalla de calibración y una Unidad de Control y Procesamiento.
Se describe la metodología que permite reorganizar la información captada por el IOFB, tal que se pueda reconstruir posteriormente la imagen presente en la entrada. La metodología incluye varios procesos como son: enfoque del IOFB, localización de las posiciones de las fibras, el cálculo de una tabla de reconstrucción de imágenes (LUT), reconstrucción de la imagen y reajuste de la calibración. Una vez calibrado el mazo puede ser utilizado en la exploración de recintos con riesgos de explosión, con altas temperaturas o radiación.







