Sistema sensor para la detección de objetos/obstáculos en puntos críticos de líneas férreas
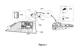
Dispositivo sensor y procedimiento para detectar la presencia de cualquier tipo de objetos (vehículos, personas, animales, etc.) en puntos de interés del trazado ferroviario (pasos a nivel, túneles, etc.) y envío al tren de información visual y señales de aviso ante la presencia de objetos en los puntos de interés. El dispositivo está constituido por un conjunto de cámaras (1-1) ubicadas en el entorno de cada punto de interés, sistema de iluminación infrarroja (1-2), módulo de procesamiento de imágenes (1-4) y sistema inalámbrico de comunicaciones con el tren (1-6). El sistema contribuye al aumento de seguridad en el transporte por ferrocarril, proporcionando a los maquinistas información visual (1-7) sobre el estado de los puntos conflictivos y notificando de la presencia de obstáculos (1-5) en el entorno (1-3) del punto conflictivo. El sistema es capaz de detectar la presencia de objetos en condiciones de luz diurna y nocturna.







