Sistema para la detección de vehículos que circulan por una vía a partir del sonido
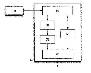
El sistema objeto de la invención tiene la finalidad de analizar el sonido captado por uno o varios micrófonos y detectar el tipo de vehículo o vehículos que circulan por la vía y la velocidad a la que lo hacen. Los datos obtenidos permiten conocer el número de vehículos de cada clase que circulan por una vía. Además, se puede conocer la velocidad a la que circulan los vehículos y puede determinarse el sentido de circulación. El sistema consiste en uno o varios micrófonos para la captura del sonido (1), y una tarjeta electrónica (2) compuesta por los siguientes bloques: un conversor analógico/digital (3), un sistema dedicado a la clasificación de los sonidos compuesto por un bloque de extracción de características (4) y un algoritmo de clasificación lineal (5), un algoritmo para la estimación de la velocidad del vehículo (7) y un módulo de comunicaciones (6).







