Sistema de visión artificial para el control semafórico de accesos a parkings y garajes mediante la monitorización de peatones
El sistema objeto de invención tiene la finalidad de realizar el control semafórico de los accesos rodados a parkings y garajes mediante la monitorización de peatones utilizando visión artificial. Se trata de un sistema de seguridad vial que permite garantizar que el acceso de salida de los vehículos del parking se realice de forma segura para los peatones.
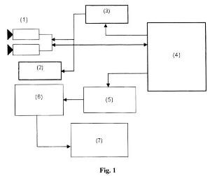
Para ello, se efectúa la monitorización de los puntos de acceso al parking utilizando un sistema de visión estereoscópica con iluminación infrarroja. El sistema de visión está ubicado sobre un soporte fijo situado junto a la zona de acceso al parking. Las imágenes proporcionadas por el sistema de visión estereoscópico son procesadas por un ordenador, obteniendo información relativa a la presencia de peatones en las inmediaciones del punto de acceso monitorizado. Dicha información es utilizada para actuar sobre un semáforo que controla el acceso de salida de los vehículos.







