Sistema de detección diferencial para sensores distribuidos sobre fibra óptica basados en scattering brillouin estimulado
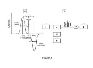
Basado en detección diferencial en sensores distribuidos basados en scattering estimulado Brillouin sobre fibra óptica, consistente en separar las dos señales de las que está compuesta la señal de sonda y obtener la diferencia entre la banda de amplificación y la banda de atenuación estimuladas, o viceversa. Se obtiene de este modo una señal con mayor amplitud que en el caso de realizarse una detección con una sola banda. Así se mejora la relación señal-ruido en la señal del sensor, rango dinámico y se aumenta la longitud de alcance así como se disminuye la incertidumbre de la medida. Además se elimina el ruido común que haya presente en las dos bandas de la señal de sonda y, en el caso de emplear un detector balanceado en detección, se mejora las características de saturación del detector, pudiéndose conseguir amplitudes de señal mucho más grandes que en el caso convencional de detección.







