Sistema de control de barrido para una plataforma de aprendizaje mediante pulsadores
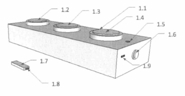
Sistema de control de barrido para una plataforma de aprendizaje mediante pulsadores. Las personas con discapacidad motriz tienen problemas para el manejo del teclado y del ratón. La invención consiste en un sistema hardware y software que permite a estudiantes con problemas motrices acceder a la información proporcionada por una plataforma de aprendizaje a través de un sistema de pulsadores. La parte hardware está formada por un conjunto de componentes electrónicos gobernados por un microcontrolador que envía de forma inalámbrica la información de los pulsadores a un adaptador. El adaptador recibe los datos y los adapta al ordenador. La parte software genera un barrido automático o manual gestionado por los pulsadores, cuya velocidad y sonido son configurables.







