Punto de acceso inalámbrico multiusuario para piconet extendida
Según el estándar Bluetooth, una piconet consta de un dispositivo maestro y hasta 7 dispositivos esclavos.
La presente invención extiende este concepto para conseguir que un dispositivo maestro gestione un número elevado de esclavos en una misma piconet.
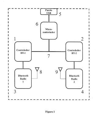
La invención está formada por dos controladores de banda base Bluetooth, conectados a sendos circuitos Bluétooth radio e interconectados entre sí y a un microcontrolador, el cual gestiona todo el sistema, de forma que uno de los controladores se encuentra permanentemente descubriendo otros dispositivos y el otro establece la conexión con los dispositivos descubiertos y realiza las tareas de comunicación con dichos dispositivos.
La invención contiene, además, un método de operación que permite obtener un rendimiento óptimo del punto de acceso, mejorando los procedimientos de incorporación de dispositivos esclavos, gestión de acceso al medio y abandono de la piconet.







