Método de detección de señales ultrasónicas con modulación DSSS tolerante al efecto Doppler
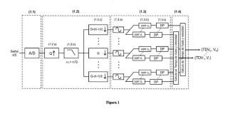
El uso de técnicas de modulación de espectro expandido por secuencia directa (DSSS) en los sistemas sensoriales ultrasónicos introduce importantes mejoras respecto a los sistemas clásicos basados en detección de envolvente. En este tipo de sistemas, la detección de señales se realiza mediante el uso de filtros acoplados (correladores) que convolucionan la señal recibida con la versión invertida en el tiempo de los patrones emitidos. Este proceso de comparación de patrones es especialmente sensible al movimiento del emisor o del receptor de señales ultrasónicas y su efecto Doppler asociado, dada la baja velocidad de propagación de estas señales comparada con la de las ondas electromagnéticas. Esta invención presenta un nuevo método de detección de señales ultrasónicas con modulación DSSS que permite llevar a cabo la detección de estas señales cuando el emisor o el receptor se encuentran en movimiento, así como realizar una estimación de la velocidad de este movimiento.







