Dispositivo de tostado adaptativo al tipo de pan
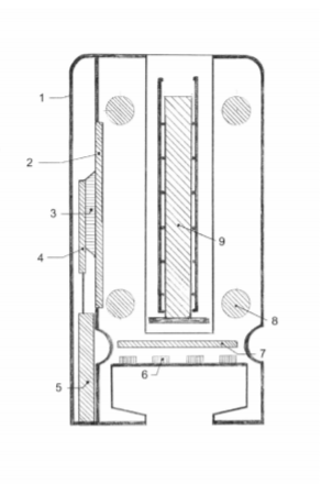
Un dispositivo de tostado adaptativo al tipo de pan que consta de un sistema de percepción de visión artificial compuesto por una ventana de cristal aislante (2), una lente gran angular (3), una cámara de bajo coste con sensor a color (4) y un sistema de iluminación homogéneo, compuesto a su vez de un cristal aislante (7) y un sistema de iluminación (6). Las imágenes recogidas por el sistema de percepción son procesadas en un microcontrolador (5) capaz de detectar la rebanada de pan y su tono de color constantemente de forma automática, expulsándolo de la cámara de tostado (9) cuando se alcanza el tono de tostado fijado por el usuario a través de la interfaz de selección de tono de tostado (10).







