Sistema de mejora de la accesibilidad en plataformas de aprendizaje mediante pulsadores, para personas con discapacidad motriz.
Sector Industrial:
- Economía y Sociedad
- Tecnologías de la Información y Comunicaciones
Investigador/es:
- Concha Batanero Ochaíta
Departamento/s:
- Automática
RESULTADOS DE LA INVESTIGACIÓN
Resumen:
Investigadores del Departamento de Automática de la Universidad de Alcalá presentan un sistema que mejora la accesibilidad de las plataformas de aprendizaje, a través de un barrido automático o manual controlado mediante pulsadores, de gran utilidad en el sector de la educación, concretamente para personas con discapacidad motriz.
Los investigadores buscan empresas de ingeniería electrónica, telecomunicaciones, de tecnología audiovisual e informática, empresas desarrolladoras de plataformas de aprendizaje, empresas desarrolladoras de periféricos de ordenador y de dispositivos adpatados, academias o centros de formación, interesados en alcanzar acuerdos de colaboración, de licencia o acuerdos comerciales con asistencia técnica.
Descripción:
El objeto de la invención es proporcionar una solución técnica para la mejora de la accesibilidad en la educación on-line.
En la actualidad los estudiantes con problemas de movilidad no pueden acceder al material docente publicado en las plataformas de aprendizaje, debido a su imposibilidad para mover el ratón y/o teclados convencionales.
La presente invención se refiere por tanto, a un sistema hardware y software, ergonómico y adaptado a las necesidades de las personas con capacidad funcional motriz reducida, consistente en la creación y control de un barrido aplicado a una plataforma de aprendizaje, que les permite acceder a la información proporcionada por una plataforma de aprendizaje a través de un sistema de pulsadores.
El adaptador recibe la información de los pulsadores y la adapta al interfaz del ordenador. La parte software genera un barrido automático o manual gestionado por los pulsadores, cuya velocidad y sonido son configurables.
Este sistema proporciona a los estudiantes acceso al menú ofrecido por la plataforma, permitiéndoles alcanzar la información mediante la utilización de dos tipos distintos de botones virtuales o pulsadores :
- Los botones virtuales : aparecen en la pantalla del ordenador y ofrecen la configuración de la velocidad de barrido y la activación o desactivación del sonido.
- Los pulsadores físicos conforman el acceso adaptado a la ergonomía del estudiante puesto que pueden ser presionados facilmente.
Aspectos Innovadores:
- Creación y control de un barrido aplicado a una plataforma de aprendizaje.
- Acción conjunta de un barrido y un sistema de pulsadores para la interacción con el ordenador en plataformas de aprendizaje y posibilidad de adaptación para cualquier aplicación Web para personas con discapacidades de origen motriz.
Palabras Clave:
- Accesibilidad
- Educación accesible
- e-learning
- Pulsadores accesibles
- Barrido automático
- Discapacidad motriz
Disciplinas Científicas:
- Socioeconomía
- Tecnologías de la Información y las Telecomunicaciones
Grado Desarrollo del resultado de investigación
- Desarrollada, lista para demostración
ASPECTOS COMERCIALES
Ventajas competitivas:
- El sistema ofrece la posibilidad de ejecutar el barrido en modo automático o manual.
- Utiliza pulsadores ergonómicos de gran tamaño para que puedan ser utilizados por personas que presenten un alto nivel de dificultad en el movimiento de manos o extremidades superiores.
- Implementa un ahorro de energía detectando de forma automática el nivel de luz ambiental y apagando o encendiendo convenientemente los pulsadores. Además, el modo de trabajo del microcontrolador conlleva un ahorro energético al mantenerse habitualmente en estado dormido, despertándose periódicamente para la realización de sus tareas.
- Su desarrollo final para la posterior explotación comercial, se calcula que conlleva un coste económico bajo.
Estado de la propiedad industrial e intelectual
- Patente solicitada
Comentarios:
La patente ha sido solicitada con referencia P201700320.
No se ha encontrado nada igual en base de datos de patentes ni en informe de búsqueda completo.
Tipo Colaboración
- Acuerdo comercial con asistencia técnica
- Acuerdo de licencia
- Cooperación técnica
Comentarios:
Los investigadores buscan empresas dentro del ámbito de aplicación de la patente (como por ejemplo centros de enseñanza, empresas desarrolladoras de contenido o de periféricos o dispositivos adaptados) que puedan estar interesadas en alcanzar acuerdos de colaboración, de licencia o comerciales con asistencia técnica.
Información Adicional:

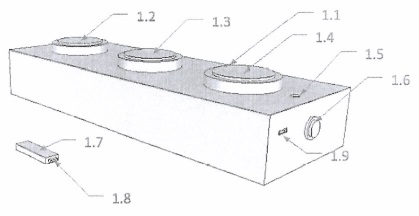
Aspecto externo del sistema de pulsadores







